Telefon: 0786.195.818, 0723.164.168
Inapoi
Denumire
Cod articol
40058600
Producator:
KOLBENSCHMIDT
Unitate de impachetare:
1
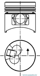
Cod motor
2.5L
Dimensiune standard (STD)
Adancime oala 1 [mm]
1,6
Bolt-? [mm]
29
Calitate
3
Inaltime compresie [mm]
48,7
Lungime bolt [mm]
75
Lungime [m]
88,7
Alezaj-? [mm]
91,1
Numar componente
RI2373
Numar componente
RI2375
Numar componente
RI2377
Pret: Neactualizat
Pret neactualizat. Folositi formularul de mai jos pentru o oferta.
Preturile de pe site sunt valabile doar la comanda online.
Reperele comandate se pot livra numai in limita stocurilor disponibile ale furnizorilor.
Daca produsul nu este livrabil, vi se va oferta un alt produs echivalent cu cel solicitat.
Solicita pret
