Telefon: 0786.195.818, 0723.164.168
Inapoi
Denumire
Cod articol
SJ351453
Producator:
AE
Unitate de impachetare:
1
Cod motor
25TDS (VM41B)
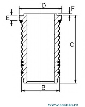
Dimensiune standard (STD)
Inaltime perete [mm]
1.200
Diametru exterior
103.000
Diametru flansa [mm]
110.000
Lungime [mm]
168.000
Latime [mm]
8.900
Alezaj-? [mm]
92.000
Pret: Neactualizat
Pret neactualizat. Folositi formularul de mai jos pentru o oferta.
Preturile de pe site sunt valabile doar la comanda online.
Reperele comandate se pot livra numai in limita stocurilor disponibile ale furnizorilor.
Daca produsul nu este livrabil, vi se va oferta un alt produs echivalent cu cel solicitat.
Solicita pret
