Telefon: 0786.195.818, 0723.164.168
Inapoi
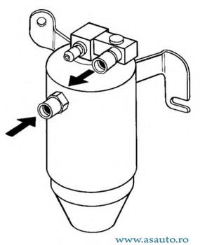
Denumire
Cod articol
33046
Producator:
NRF
Unitate de impachetare:
1
Pâna în an fabricatie
04/1997
pt. cod original (OE)
6455P8
Articol extins/Info extins 2
fara supapa expansiune
Înaltime [mm]
175
Diametru [mm]
76
Pret: Neactualizat
Pret neactualizat. Folositi formularul de mai jos pentru o oferta.
Preturile de pe site sunt valabile doar la comanda online.
Reperele comandate se pot livra numai in limita stocurilor disponibile ale furnizorilor.
Daca produsul nu este livrabil, vi se va oferta un alt produs echivalent cu cel solicitat.
Solicita pret
