Telefon: 0786.195.818, 0723.164.168
Inapoi
Denumire
Cod articol
89395110
Producator:
KOLBENSCHMIDT
Unitate de impachetare:
1
Separarea blocurilor
Cod motor
OM 422.954
Cod motor
OM 422.957
Cod motor
OM 441.951
Cod motor
OM 441.960
Cod motor
OM 441.961
Cod motor
OM 441.962
Cod motor
OM 441.981
Cod motor
OM 441.983
Dimensiune standard (STD)
Calitate
1
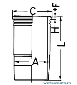
Latime [mm]
10,42
Diametru interior [mm]
128
Diametru exterior
144,5
Diametru flansa [mm]
153,8
Lungime [mm]
253
Numar componente
50006624
Pret: Neactualizat
Pret neactualizat. Folositi formularul de mai jos pentru o oferta.
Preturile de pe site sunt valabile doar la comanda online.
Reperele comandate se pot livra numai in limita stocurilor disponibile ale furnizorilor.
Daca produsul nu este livrabil, vi se va oferta un alt produs echivalent cu cel solicitat.
Solicita pret
