Telefon: 0786.195.818, 0723.164.168
Inapoi
Denumire
Cod articol
89869110
Producator:
KOLBENSCHMIDT
Unitate de impachetare:
1
Dimensiune standard (STD)
Numar componente
62893
Numar componente
65760
Calitate
3
Articol extins/Info extins 2
cu bucsa chiulasa umeda
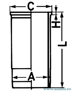
Diametru exterior
144,5
Diametru interior [mm]
128
Lungime [mm]
269
Latime [mm]
10,07
Diametru flansa [mm]
153,8
Pret: Neactualizat
Pret neactualizat. Folositi formularul de mai jos pentru o oferta.
Preturile de pe site sunt valabile doar la comanda online.
Reperele comandate se pot livra numai in limita stocurilor disponibile ale furnizorilor.
Daca produsul nu este livrabil, vi se va oferta un alt produs echivalent cu cel solicitat.
Solicita pret
