Telefon: 0786.195.818, 0723.164.168
Inapoi
Denumire
Cod articol
89497110
Producator:
KOLBENSCHMIDT
Unitate de impachetare:
1
incepand cu an fabricatie
01/1995
Dimensiune standard (STD)
Numar componente
50006660
Calitate
1
Articol extins/Info extins 2
cu bucsa chiulasa umeda
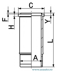
Diametru exterior
140
Diametru interior [mm]
127
Lungime [mm]
291
Latime [mm]
7,9
Diametru flansa [mm]
153,8
Inaltime perete [mm]
0,8
Diametru 1 [mm]
13
Pret: Neactualizat
Pret neactualizat. Folositi formularul de mai jos pentru o oferta.
Preturile de pe site sunt valabile doar la comanda online.
Reperele comandate se pot livra numai in limita stocurilor disponibile ale furnizorilor.
Daca produsul nu este livrabil, vi se va oferta un alt produs echivalent cu cel solicitat.
Solicita pret
