Telefon: 0786.195.818, 0723.164.168
Inapoi
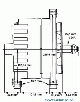
Denumire
Cod articol
1105463
Producator:
DELCO REMY
Unitate de impachetare:
1
Versiune
Serie: 27SI (200)
Tensiune [V]
12
Curent de incarcare generator [A]
65
Directia de rotatie
rotatie contrar acelor de ceasornic
Cod rulment
RB
Pret: Neactualizat
Pret neactualizat. Folositi formularul de mai jos pentru o oferta.
Preturile de pe site sunt valabile doar la comanda online.
Reperele comandate se pot livra numai in limita stocurilor disponibile ale furnizorilor.
Daca produsul nu este livrabil, vi se va oferta un alt produs echivalent cu cel solicitat.
Solicita pret
