Telefon: 0786.195.818, 0723.164.168
Inapoi
Denumire
Cod articol
200 054
Producator:
SACHS
Unitate de impachetare:
1
pt. cod original (OE)
7700 830 490
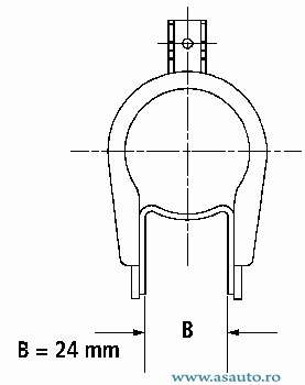
Partea de montare
punte fata
Sasiu
pentru vehicule cu suspensie standard
Parametru
SF32X178A
Tip amortizor
presiune ulei
Tip constructiv amortizor
Ansamblu amortizor-arc
Sistem amortizor
bitubular
