Telefon: 0786.195.818, 0723.164.168
Inapoi
Denumire
Cod articol
32-C27-0
Producator:
BOGE
Unitate de impachetare:
1
Tip amortizor
presiune ulei
Tip constructiv amortizor
Ansamblu amortizor-arc
Sistem amortizor
bitubular
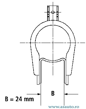
Parametru
SF32X178A
Pret: Neactualizat
Pret neactualizat. Folositi formularul de mai jos pentru o oferta.
Preturile de pe site sunt valabile doar la comanda online.
Reperele comandate se pot livra numai in limita stocurilor disponibile ale furnizorilor.
Daca produsul nu este livrabil, vi se va oferta un alt produs echivalent cu cel solicitat.
Solicita pret
